Opis produktu
Mikrotik Routerboard RB912UAG-5HPnD
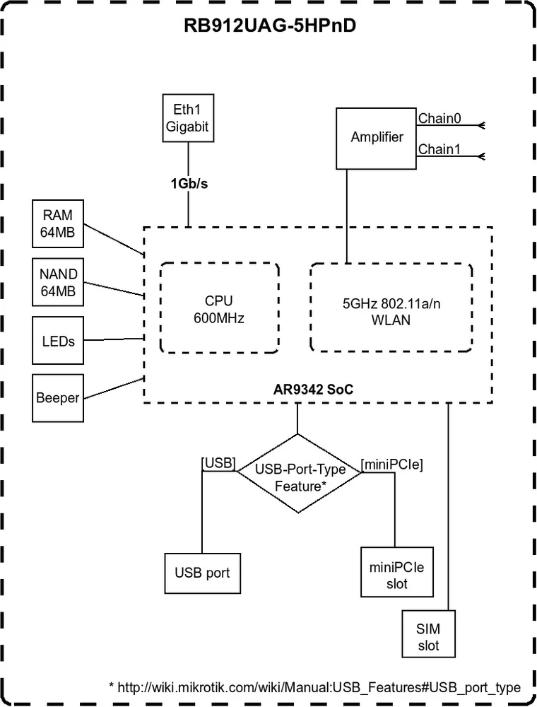
Routerboard RB912UAG-5HPnD to niesamowicie wszechstronne urządzenie. Jest to kompaktowy router bezprzewodowy, który posiada zintegrowaną kartę bezprzewodową o wysokiej mocy 5 GHz oraz dodatkowe gniazdo miniPCIe na kartę bezprzewodową 802.11 lub 3G. Dzięki gigabitowemu portowi można w pełni wykorzystać potencjał sieci bezprzewodowej 802.11n.


Wbudowana ochrona ESD 16 kV
Zintegrowana karta bezprzewodowa o wydajności do 1000 mW posiada wbudowaną ochronę ESD 16 kV zarówno na portach Ethernet, jak i MMCX.
Wyniki testów

